O AppleInsider é apoiado por seu público e pode ganhar comissão como Associado da Amazon e parceiro afiliado em compras qualificadas. Essas parcerias de afiliados não influenciam nosso conteúdo editorial.

A Apple continua a estudar a possibilidade de criar um iPhone dobrável, equipado com uma dobradiça que permita que uma tela flexível seja dobrada o suficiente para o smartphone dobrar, mas evitando que a tela desenvolva um vinco.

A tendência atual em smartphones é a adição de uma tela flexível e seções móveis, como evidenciado por modelos da Samsung como o Fold e outro dispositivo de rumores. Embora produzir um smartphone em primeiro lugar seja uma grande façanha de engenharia, criar um em que toda a unidade possa dobrar é uma perspectiva muito mais difícil, devido à tela.

Mesmo nos casos em que um smartphone inclui uma tela flexível, há limites para o quanto você pode dobrar um material antes que ele vire como papel. Especialmente para telas, os vincos podem fazer a tela parecer feia com seções extras salientes, enquanto vincos podem fatigar a tela e fazê-la rachar ou quebrar com o tempo.

Em uma patente publicada pelo Escritório de Marcas e Patentes dos EUA na terça-feira intitulado”Dispositivos eletrônicos com telas e dobradiças flexíveis”, a Apple sugere o design de um dispositivo móvel que inclui uma tela flexível dentro de uma caixa dobrável. Em sua essência, está o conceito de permitir que uma tela flexível seja dobrada o suficiente para dobrar o dispositivo ao meio, mas de forma a proteger a tela.

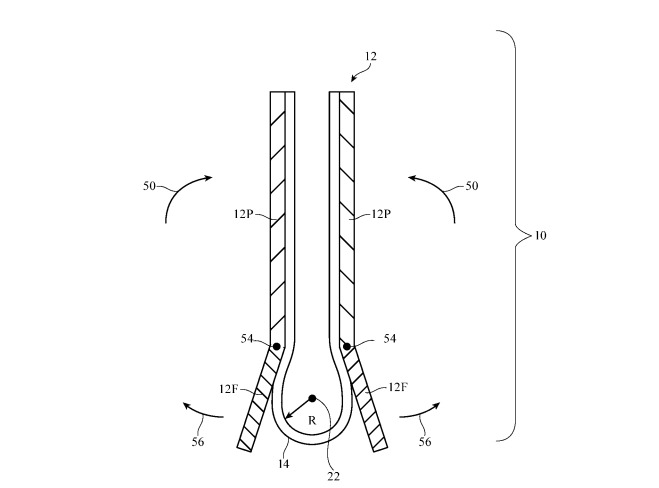
A solução da Apple é que ela precisa dobrar a tela de uma certa maneira, especificamente permitindo que a seção do meio se curve levemente para fora antes de fazer a curva. Ao fazer isso, isso pode permitir que as seções principais e as bordas da tela longe da área curva se encontrem o mais próximo possível, enquanto permite que a seção de dobra faça isso em um raio maior, minimizando o estresse.

Uma ilustração de como a tela pode ser dobrada, enquanto permite que a dobra se curve levemente para dar um raio maior

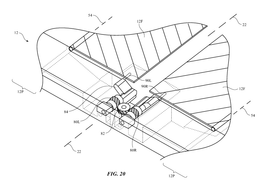
Para conseguir isso, a Apple propõe um mecanismo de dobradiça que permite que a tela ser suportado pelo alojamento principal, plano e mantido em estado planar. Ao dobrar, o mecanismo de dobradiça gira simultaneamente os elementos da caixa em torno da seção onde a dobra está localizada, para manter o dispositivo com aparência limpa e arrumada.

No interior, a dobradiça gerencia o movimento da tela para se curvar na dobradiça, usando uma seção vazia para dar à tela o espaço necessário para a curva de dobra ampliada. Um arranjo de cremalheira e engrenagem pode ser usado para manter as distâncias da caixa e da tela de cada elemento dobrado nas áreas estáticas, além de reforçar o raio de curvatura desejado.

O uso de um vazio oferece a possibilidade de a tela não ser suportada corretamente na área de dobra quando o dispositivo está aberto, mas a Apple novamente tem uma solução. Quando desdobradas, as abas retráteis podem ser estendidas internamente para suportar a tela, de modo que as pressões dos dedos não afetem a posição da tela nem a fatigam mais do que o necessário para o uso normal.

Um exemplo de mecanismo usado para manter a integridade da tela quando o dispositivo é dobrado

A Apple apresenta vários pedidos de patente semanalmente, mas enquanto a existência de um pedido de patente indica áreas de interesse para os esforços de pesquisa e desenvolvimento da empresa, isso não garante que um produto ou serviço futuro usará os conceitos descritos.

Esta está longe de ser a primeira vez que a Apple cogitou a ideia de usar uma tela flexível, com muitos registros ao longo dos anos indicando que é uma área de interesse para a empresa. Em 2018, ganhou uma patente para os”Dispositivos eletrônicos com telas flexíveis”, com o mesmo título, que explicava como uma tela pode ter vários elementos para auxiliar na dobra, como reentrâncias no material que protegem a camada da tela feitas por ranhuras preenchidas por outros materiais flexíveis.

A patente lista seus inventores como Jiang Ai, Mitchell A. Heschke, Soyoung Kim e Stephen R. McClure.

Ai apareceu em registros de patentes de telas dobráveis ​​anteriores ao lado de Kim, bem como outros relacionados a mecanismos de fixação de tampas de dispositivos e estruturas flexíveis de baterias. Kim era ex-gerente de design de produtos para iPad na Apple antes de mudar para a Tesla em 2017, onde agora se especializa em óptica.

Heschke tem uma trajetória de carreira semelhante, trabalhando anteriormente como engenheiro de design de produtos para iPad antes de se mudar para a Tesla em 2018, mas está vinculado a uma patente intitulada”Câmara de compensação acústica para um dispositivo de áudio localizado remotamente”.

Ex-gerente sênior da equipe de design de produtos do iPad até sair em 2015, McClure é atualmente o chefe do Portal no Facebook. Embora apareça em vários registros de patentes, as listagens mais próximas são para projetos de bateria curvada de 2013.

Categories: IT Info