NVIDIAはDLSSテクノロジーで完全に支配的ですが、AMDは最近ティーズされたFidelityFXスーパーレゾリューション(FSR)テクノロジーの形で独自のDLSSライバルを間もなく発表します。

ギャラリーを表示-6つの画像

しかし、「ゲームの超解像」またはGSRをからかう新しい特許が表面化したため、もう少し情報があります。将来的にはFidelityFXスーパーレゾリューション(FSR)をGSRとは異なるテクノロジーと見なす可能性がありますが、AMDは今後数か月でそれを明確にするでしょう。

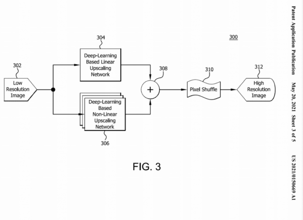
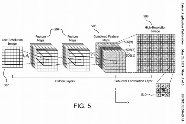
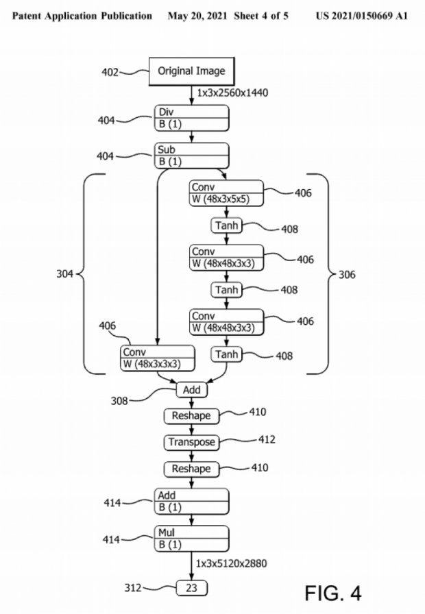
特許自体にAMDの今後のゲームが含まれます。 AMDが説明しているように、干渉を使用して画像をアップスケールするスーパーレゾリューションテクノロジーは、非線形情報を使用しないため、ぼやけた画像や破損した画像を表示する可能性のある線形アップスケーリング機能を使用します。

AMDエンジニアは次のように付け加えています。従来のニューラルネットワークは一般化可能であり、当面の問題についての重要な知識がなくても動作するように訓練されており、深層学習の結果(dig dig、DLSS)は元の画像の側面を考慮しておらず、色が失われる可能性がある、または最終結果の詳細。

AMDの新しいRadeonを利用したソリューションは、多くの点で印象的です。その最初の、そして最も重要なのは、GSRまたはAMDの新しいDLSSの競合製品です。 GPU専用ではないように到着します。NVIDIAの魔法のDLSSテクノロジーは優れていますが、GeForceGPUでのみ機能します。

GSRはAMDRadeon GPU、AMD Ryzen CPU、およびセミカスタムAMD搭載で機能します。 Microsoft Xbox Series X/SコンソールとSonyPlayStation5コンソールの両方の次世代コンソール。

さらに、AMDは線形および非線形のアップスケーリング技術を使用して、画像の品質を維持および改善します。.AMDは、GSRが「高品質の画像近似を作成し、高フレームレートを達成する」と述べています。

特許は継続しています:「処理を改善する超解像度処理方法が提供されますパフォーマンス。この方法は、第1の解像度を有する入力画像を受信し、線形アップスケーリングネットワークを介して入力画像をダウンサンプリングすることによって入力画像の線形ダウンサンプリングバージョンを生成し、ダウンスケーリングによって入力画像の非線形ダウンサンプリングバージョンを生成することを含む。非線形アップスケーリングネットワークを介して入力画像をサンプリングします。この方法には、入力画像のダウンサンプリングされたバージョンを、第1の解像度よりも高い第2の解像度を持つ出力画像のピクセルに変換し、表示用の出力画像を提供することも含まれます“。

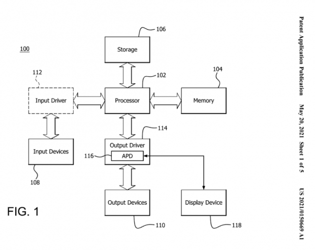
特許は次のように述べています。「デバイス100には、たとえば、コンピュータ、ゲームデバイス、ハンドヘルドデバイス、セットトップボックス、テレビ、携帯電話、またはタブレットコンピューター。デバイス100は、プロセッサ102、メモリ104、ストレージ106、1つまたは複数の入力デバイス108、および1つまたは複数の出力デバイス110を含む。デバイス100は、任意選択で、入力ドライバ112および出力ドライバ114を含むこともできる。デバイス100は、図1に示されていない追加の構成要素を含むことができること。 1 “。

さまざまな代替案では、プロセッサ102は、中央処理装置(CPU)、グラフィックス処理装置(GPU)、または別のタイプの計算アクセラレータ、同じダイ上に配置されたCPUとGPU、または1つ以上のプロセッサコア。各プロセッサコアは、CPU、GPU、または別のタイプのアクセラレータにすることができます。たとえば、複数のプロセッサが1つのボードまたは複数のボードに含まれています“。

Categories: IT Info