AMD「big.LITTLE」aha Ryzen 8000シリーズのヘテロジニアス・コンピューティング

コアではなく、プロセッサの製造ノード、パッケージ方法、および電力効率。異種アーキテクチャによっても大きな役割が果たされます。

今年の後半、Intelはデスクトップおよびモバイルシステム向けに第12世代Core AlderLakeプロセッサを発売します。これは、インテルのハイブリッドテクノロジーを実装した最初のアーキテクチャではありません(最初はレイクフィールドでした)。これは、高効率 (小型) および高性能 (大型) のコア実装のマーケティング用語です。ほとんどの技術ユーザーは、big.LITTLEという用語に精通している必要があります。これは実際にはARMのヘテロジニアスコンピューティングアーキテクチャの古い名前であり、現在はDynamIQに置き換えられています。

ヘテロジニアスCPUはモバイルデバイスで長年使用されてきましたが、このテクノロジーは、電力効率が最大の関心事ではない最新のデスクトップPCの領域ではありません。次世代の Windows オペレーティング システムは、このようなヘテロジニアス コンピューティング向けの新しいタスク スケジューリング方法を特徴としていると噂されています。これは、Intel の Alder Lake の発売にちょうど合うかもしれません.設計上、リークにより新しいコード名「 Strix Point 」がもたらされました。これは、Zen5ベースのAPUに関連付けられており、おそらくZen4Dと呼ばれる小さなコアも備えています。後者は小さいコアのコード名です。

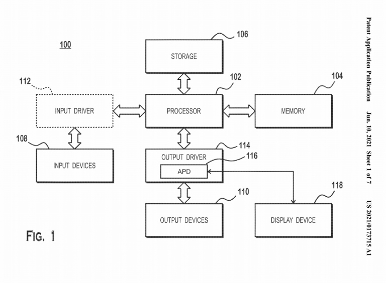
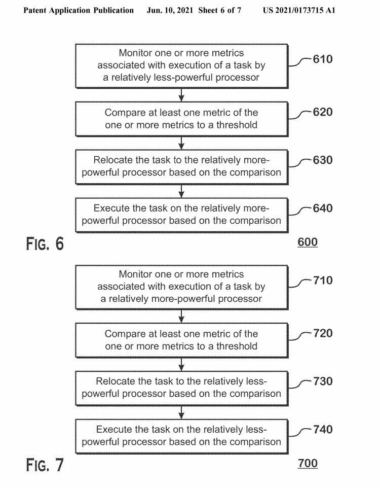
AMD特許「異種プロセッサ間のタスク移行の方法」、出典:米国特許庁

ちょうど2日前、「異種プロセッサ間のタスク移行」に関するAMD特許はen公開。この特許はもともと2019年12月に出願されたものであり、AMDがこの技術に長い間取り組んできたことを示唆しています。この特許は、ヘテロジニアスコンピューティングの最も重要なエンジニアリングの問題、つまり、異なるタイプのコア間でタスクをスケジュールまたは移行する方法をカバーしています。

要するに、AMDは、CPUが1つに基づいてコア間でタスクを再配置すると説明しています。または複数のメトリック。これらには、タスクの実行時間、最大パフォーマンス状態でメモリを使用する要件、メモリへの直接アクセス、または平均アイドル状態しきい値のメトリックが含まれます。そのような (および特許にリストされている他の) メトリックのいずれかが基準を満たす場合、タスクは最初のプロセッサ コアから 2 番目のコアに再配置されます。明らかに、これはあまり詳細な説明ではありませんが、特許で議論されていることの簡単なアイデアを提供する必要があります。

AMD特許「異種プロセッサ間のタスク移行方法」、出典:米国特許庁

AMD特許「異種プロセッサ間のタスク移行の方法」、出典:米国特許庁

現時点では、Ryzen8000シリーズは「 「StrixPoint」は、3nmZen5コアとZen4Dを1つのパッケージに組み合わせた異種アーキテクチャをAMDが初めて実装するものです。 「Granite Ridge」というコードネームのデスクトップ バリアントは、現在、大/小のコア アーキテクチャを備えているとは噂されていません。 AMDの異種CPU/APUが利用可能になるまでに、IntelはすでにAlderLakeアーキテクチャを市場に出していることは注目に値します。実際、AMD の最初のハイブリッド CPU は、Alder Lake の後継である Raptor Lake と競合しなければならない可能性があります。

噂のAMDZenロードマップ
VideoCardz.com

EPYC 7002

ローマ

7nm(Zen2)

EPYC 7003

ミラノ

7nm(Zen3)

EPYC 7004

ジェノア

5nm(Zen4)

EPYC 7005

Turin

3nm(Zen5)

Threadripper 3000

Castle Peak

7nm(Zen2)

次のスレッドリッパー

チャガル

6nm( Zen3+)

TBC TBC

Ryzen 3000

Matisse

7nm(Zen2)

Ryzen 5000

フェルメール

7nm(Zen3)

Ryzen 6000

Warhol

6nm(Zen3 +)

Ryzen 7000

ラファエル

5nm(Zen4)

Ryzen 8000

花崗岩の尾根

3nm(Zen5)

Ryzen 4000

Renoir

7nm(Zen2)

Ryzen 5000

Cezanne

7nm(Zen3)

Ryzen 6000

レンブラント

6nm(Zen3 +)

Ryzen 7000

フェニックス

5nm(Zen4)

Ryzen 8000

Strix Point

3nm (Zen5+Zen4D)

ソース: Freepatents 経由 @ Kepler_L2



Categories: IT Info